Grille & Components for 2017 Ford F-250 Super Duty
No.
Part # / Description / Price
Price
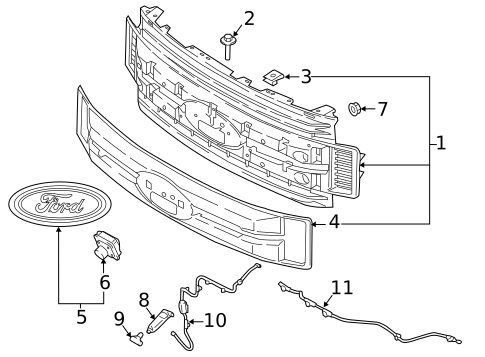
1
Grille Assembly
Ford
Ford Description: Ford Parts are the Only parts designed and built to the specific Standards of Ford Motor Company and are the Only parts recommended for use in your Ford or Lincoln vehicle. 2018-19, satin aluminum or chrome, platinum. 5 pc satin aluminum or chrome, satin aluminum.
MSRP $2,268.02
$1,496.89
MSRP $2,268.02
$1,496.89
3
MSRP $4.00
$2.40
4
MSRP $5.00
$3.00
5
Upper Grille
Ford
Ford Notes: PARTS: Part included with grille assembly.
Description: 5 pc satin aluminum. 2018-19 platinum, limited. satin aluminum.
MSRP $336.27
$221.94
MSRP $336.27
$221.94
6
Lower Grille
Ford
Ford Notes: PARTS: Part included with grille assembly.
Description: 5 pc satin aluminum. 2018-19 platinum, limited.
MSRP $387.65
$255.85
MSRP $387.65
$255.85
7
Grille
Ford
Ford Notes: PARTS: Part included with grille assembly.
Description: 5 pc satin aluminum, upper. 2018-19, satin aluminum or chrome, lower, platinum. 2018-19 PLATINUM, LIMITED. lower satin aluminum.
MSRP $622.20
$410.65
MSRP $622.20
$410.65
9
Grille Emblem
Ford
Ford Description: 5 pc satin aluminum, with front camera. 2 pc chrome or painted type 2. with front camera. 2018-19 XL,XLT. with front camera. 2018-19 LARIAT. with front camera. 2018-19 platinum, limited. with front camera.
MSRP $1,207.93
$797.24
MSRP $1,207.93
$797.24
No.
Part # / Description / Price
Price
1
Grille Assembly
Ford
Ford Description: Ford Parts are the Only parts designed and built to the specific Standards of Ford Motor Company and are the Only parts recommended for use in your Ford or Lincoln vehicle. 2018-19, 2 pc chrome or painted Type 2, chrome/chrome.
MSRP $1,421.76
$1,251.15
MSRP $1,421.76
$1,251.15
1
Grille Assembly
Ford
Ford Description: 2 pc chrome or painted type 2. painted. 2018-19, lariat, king ranch, accent color. 2018-19 LARIAT. painted.
MSRP $732.73
$483.60
MSRP $732.73
$483.60
6
Front Camera
Ford
Ford Notes: PARTS: Part included with emblem.
Description: Ford Parts are the Only parts designed and built to the specific Standards of Ford Motor Company and are the Only parts recommended for use in your Ford or Lincoln vehicle. Front. 2020-21, platinum. 2020-21, king ranch. F250, f350, f450, f550. 5 pc satin aluminum or chrome. 2 pc chrome or painted Type 2. 2018-19, satin aluminum or chrome.
9
Spray Jet Cap
Ford
Ford Description: 2 pc chrome or painted type 2. 2018-19, satin aluminum or chrome. 2020-22, platinum. 2020-22, lariat. 2020-22 king ranch. Xl,xlt, 2018-19. 2018-19 lariat. 2020-22 xl, xlt. 2018-19 platinum, limited.
MSRP $20.17
$13.92
MSRP $20.17
$13.92
10
Washer Hose
Ford
Ford Description: 2018-19, 2 pc grille, type 1. 2 pc chrome or painted type 2. Washer hose. Xl,xlt, 2018-19. 2018-19 lariat. 2018-19 platinum, limited.
MSRP $58.12
$39.75
MSRP $58.12
$39.75
No.
Part # / Description / Price
Price
1
Grille Assembly
Ford
Ford Description: Ford Parts are the Only parts designed and built to the specific Standards of Ford Motor Company and are the Only parts recommended for use in your Ford or Lincoln vehicle. 2018-19, 2 pc grille, Type 1, Gray/Black.
MSRP $332.25
$219.29
MSRP $332.25
$219.29
1
Grille Assembly
Ford
Ford Description: 2 pc grille, type 1. chrome. Xl,xlt, 2018-19, chrome.
MSRP $922.56
$811.86
MSRP $922.56
$811.86
4
Outer Grille
Ford
Ford Notes: PARTS: Part included with grille assembly.
Description: 2 pc grille, type 1. Outer grille. Xl,xlt, 2018-19, chrome.
MSRP $317.83
$209.77
MSRP $317.83
$209.77
5
Grille Emblem
Ford
Ford Description: 2 pc grille, type 1, without front camera. 2 pc chrome or painted type 2. without front camera. 2018-19 XL,XLT. without front camera. 2018-19 LARIAT. without front camera. 2018-19 platinum, limited. without front camera.
MSRP $105.00
$70.56
MSRP $105.00
$70.56


